Dvojkovová zkušební svorka se stříškou

Dvojkovové provedení pro vzájemné spojení vedení z různých materiálů.

1 Produkt

Obj. č. 460147 ZMTK 6.10 FL30.40 CU STTZN

GTIN 4013364025349, Číslo celního sazebníku (EU): 85359000, Váha brutto: 350.00 g, Balící jednotka: 1.00 ks


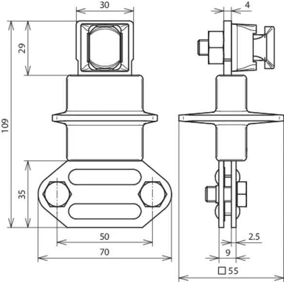
Vyobrazení

Další informace

Dvojkovová zkušební svorka se stříškou
Dvojkovové zkušební svorky se stříškou pro vzájemné spojení vedení z
různých materiálů
Materiál: Cu/FeZn
Rozsah svorky drát/pásek: 6 - 10/30 - 40 mm
Norma: ČSN EN 62561-1

Výrobek: DEHN
Typ: ZMTK 6.10 FL30.40 CU STTZN
Obj. č.: 460147
nebo rovnocenný.

Certifikáty

 

Technické informace

Materiál Cu /FeZn
Rozsah svorky drát/pásek 6 - 10/30 - 40 mm
Stříška umělá hmota šedá ●
Norma ČSN EN 62561-1
*) viz. testovací protokol.

Produkt 460147 byl přidán na seznam.

K seznamu

Produkt 460147 byl přidán do nákupního košíku.


back to top